Pcf單段錘式破碎機型號及圖片講解
Pcf單段錘式破碎機型號及圖片講解
單段錘式破碎機設備作為眾多礦山破碎設備中的一類,在礦山生產中主要分為DPC、PCF、以及DSJ型號的單段錘式破碎機。單段錘式破碎機設備主要適用于中細碎石灰石、花崗巖、煤炭、陶瓷等物料。詳細解答
詳細解答
縱觀破碎機的發展史,破碎機隨著社會中動力的改變由蒸汽式發展到柴油式破碎機以及到后使用的電動式破碎機設備。設備的類型更是不多增多,由剛開始的對輥式蒸汽破碎機到美人布朗克的顎式破碎機設備,以及后來的旋回式破碎機、反擊式破碎機、圓錐式破碎機和單段錘式破碎機設備。人類科技的、新設備的都是為了適應時代的需求,破碎的物料粒型也越來越大由原來的幾分米到現在的幾米進料粒度,產量也由十幾噸每小時到現在上千噸。
單段錘式破碎機型號有哪些?
單段錘式破碎機設備作為眾多礦山破碎設備中的一類,在礦山生產中主要分為DPC、PCF、以及DSJ型號的單段錘式破碎機。單段錘式破碎機設備主要適用于中細碎石灰石、花崗巖、煤炭、陶瓷等物料及礦山、水利工程、道路建設、建筑垃圾處理、以及化工物料加工等行業中。
不同廠家的錘式破碎機設備型號不一樣,生產選購設備時請認準自己的產量選擇相應的設備。下面我們將列舉一些廠家的單段錘式破碎機型號及產量各種參數。
廠家 | 單段錘式破碎機型號 | 轉子直徑mm | 進料粒度mm | 生產粒度mm | 生產能力t/h | 電機功率kw |
寶山 | PCF-1412 | 600*600*900 | 25-75 | 80-120 | 220 | 27 |
寶山 | PCF-1616I | 800*800*800 | 25-75 | 150-240 | 315 | 42 |
紅星 | DPC140 | 1400 | ≤800 | <3-8 | 100-140 | 6P 160-220 |
紅星 | DPC160 | 1600 | ≤1000 | <3-8 | 150-240 | 4P 280-355 |
鼎盛 | 2DPC 2022 | 2018*2237 | 1000*1000*1500 | 90%≤75 | 1200 -1500 | 800*2 |
鼎盛 | 2DPC 2325 | 2300*2508 | 1100*1100*1500 | 90%≤75 | 1600 -2000 | 1125*2 |
單段錘式破碎機廠家講解:
山寶礦山破碎機生產廠家生產的pcf單段錘式破碎機設備主要應用于石膏、煤、石灰石等中等硬度物料的選礦、建材、化工等工業生產中。生產中設備的結構緊湊占地面積小,“石打石”“石打鐵”的生產破碎比大生產效率高物料粒型好,長方形的物料進料口物料進料口大,設備架構根基穩定生產運行平穩。

河南紅星重工的dpc單段錘式破碎機設備是結合德的礦山破碎機生產技術生產而成,設備運行中破碎力度大能夠將1.3-1.5米的物料破碎至3-150毫米的物料。同時設備的運行生產能夠一破頂兩破節省設備的投資。單段錘式破碎機設備生產時破碎生產的粉塵物料少能夠減少環境的污染和提高物料的質量。

鄭州鼎盛礦山設備有限公司生產的dpc單段錘式破碎機設備主要適用于大型而定骨料和水泥行業生產線中。dpc單段錘式破碎機設備是中低硬度破碎機能夠破碎硬度不大于200MPA的石灰石、青石等物料。該夠公司的設備具有破碎粒度大生產能力強的特點。

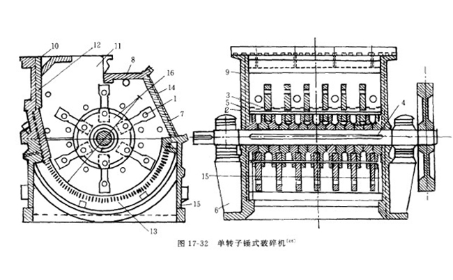
單段錘式破碎機工作原理

通過對各個廠家設備的對比我們發現單段錘式破碎機設備與錘式破碎機相比破碎硬度更低。錘式破碎機設備能夠破碎不過250MPA的中等硬度的物料。單段錘式破碎機利用高速旋轉的板錘和錘頭的生產破碎將物料按照裂縫進行破碎,同時物料還會被打擊到反擊襯板上進行再次的破碎生產以及物料之間撞擊之后排出設備。在此過程中設備錘頭運轉速度將會影響物料的破碎情況和粒型。
希望以上的分析和對比能夠讓你清楚的了解到單段錘式破碎機設備的型號及用途,更能對你在設備選型上有所幫助。